DRAKON.SU

Текущее время: Воскресенье, 01 Февраль, 2026 17:27

Часовой пояс: UTC + 3 часа




Начать новую тему Ответить на тему  [ Сообщений: 33 ]  На страницу Пред.  1, 2
Автор Сообщение
СообщениеДобавлено: Вторник, 03 Октябрь, 2017 14:00 

Зарегистрирован: Среда, 03 Май, 2017 09:55
Сообщения: 200
NickSen писал(а):
Аналогичное устройство у нас безуспешно пытался создать целый отдел возглавляемый д.т.н. Специалисты прекрасно знающие предметную область. Они «пахали» будь здоров, без выходных и проходных. Что то у них не сложилось. Да и в нашем отделе этим тоже занимались несколько человек.
И только используя языки InteloGraf и Дракон мне удалось наконец достичь цели. Конечно немаловажную роль сыграла здесь и среда разработки «IntelGraf», которая также должна удовлетворять когнитивным и эргономическим требованиям!


А какие варианты вообще пробовались?
Могу зайти с двух сторон.
1) На тему ПЛИС есть статьи Ивана Шевчука: https://habrahabr.ru/users/ishevchuk/posts/
Он шикарно пишет про "сетевые коммутаторы" на базе ПЛИС, и наверняка объёмы обрабатываемых данных (10Гбит/сек) либо превышают либо хотя бы сравнимы с вашими. Разумеется, ни о каких Драконах Иван не заикается.

2) Есть команда в Германии -- Itemis labs. Один из проектов как раз программирование для высокоскоростной обработки сигнала.
Как раз http://mbeddr.com/blog/

https://2016.splashcon.org/event/itsle2 ... -of-mbeddr
20-ый слайд.

Живут припеваючи, делают среду программирования, и при этом не говорят, что "только благодаря графическому представлению данных все получилось". Они как раз наоборот говорят: для каждой задачи они делают своё представление (где-то таблицы, где-то формулы, где-то текст, где-то графика), и за счёт этого всё получается.

Я прекрасно понимаю, что предметно-ориентированный язык это хорошо. Но, честное слово, пока выглядит так, как-будто Дракон в вашем случае является волшебной палочкой, от него одни только плюсы, никаких минусов и т.п. Очень и очень странно выглядит, когда приводятся фразы без каких-либо сравнений.

NickSen писал(а):
Вопрос о тестировании устройства является конечно не праздным, тем более когда речь идёт о бортовом оборудовании.

Но в данном случае проблема была в другом. Было бы что тестировать!

Ну, допустим, с помощью InteloGraf и какой-то матери устройство как-то получилось. Как его тестируете?
Запускаете в космос, и смотрите выживет ли?
Выкидываете Дракона и тестируете вручную?
Или дербаните Дракона на шампуры и тестируете как-то каждый шампур?


Вернуться к началу
 Профиль  
 
СообщениеДобавлено: Вторник, 03 Октябрь, 2017 18:01 

Зарегистрирован: Среда, 27 Февраль, 2008 19:32
Сообщения: 19
Существует множество методов для тестирования приборов. Например для ПЛИС существует программа Model Sim, создаётся файл входных воздействий TestBench. Затем запускают данную программа и смотрят отклик на входные сигналы.

А для прибора по которому я делал доклад на «ИТ РКО-2017» можно сделать ещё проще. Подать на один из входов готового изделия по очереди сигнал с генератора и смотреть на выходе например спектр плотности мощности, меняя частоту и амплитуду сигнала.

С уважением Николай Сенюгин.


Вернуться к началу
 Профиль  
 
СообщениеДобавлено: Среда, 05 Сентябрь, 2018 08:59 

Зарегистрирован: Среда, 07 Январь, 2015 14:53
Сообщения: 1359
Журнал: ИНФОРМАЦИОННО-ТЕХНОЛОГИЧЕСКИЙ ВЕСТНИК
№ 4 (2017)

https://www.technologicalvestnik.com/jour/article/download/351/351
Цитата:
Визуальный декларативно-алгоритмический язык «InteloGraf»
в ракетно-космической технике


Н.П. Сенюгин, ведущий инженер-программист,
Акционерное общество «Научно-производственное объединение измерительной техники» (АО
«НПО ИТ»), г. Королев, Московская область

Рассматривается применение визуального декларативно-алгоритмического языка
«InteloGraf» в ракетно-космической технике (в качестве метода «Программирование без
программистов»).

Язык InteloGraf, программирование без программистов, система на кристалле.
На форуме: Н.П. Сенюгин - NickSen.
---
Имеется 1-но упоминание Дракона.


Вернуться к началу
 Профиль  
 
СообщениеДобавлено: Среда, 05 Сентябрь, 2018 15:31 

Зарегистрирован: Пятница, 08 Декабрь, 2017 18:24
Сообщения: 439
Откуда: Астрахань-Сочи
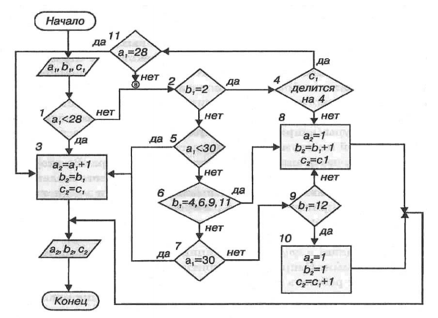
Простите за нескромность, но, как мне кажется, схема расчета будущей даты запутана в обоих вариантах.


Вернуться к началу
 Профиль  
 
СообщениеДобавлено: Четверг, 06 Сентябрь, 2018 09:51 

Зарегистрирован: Пятница, 08 Декабрь, 2017 18:24
Сообщения: 439
Откуда: Астрахань-Сочи
На мой неискушенный взгляд Дракон выглядит понятнее, чем схемы из статьи.
Вложение:
Комментарий к файлу: Схема исходная из приведенной статьи
схема.png
схема.png [ 305.75 КБ | Просмотров: 12247 ]

Вложение:
Комментарий к файлу: Схема на Intelograf из приведенной статьи
Intelograf.png
Intelograf.png [ 170.74 КБ | Просмотров: 12247 ]

Вложение:
Комментарий к файлу: Силуэт на Драконе
схема 2.png
схема 2.png [ 58.63 КБ | Просмотров: 12247 ]


Вернуться к началу
 Профиль  
 
СообщениеДобавлено: Четверг, 06 Сентябрь, 2018 09:55 

Зарегистрирован: Пятница, 08 Декабрь, 2017 18:24
Сообщения: 439
Откуда: Астрахань-Сочи
И дополню, что схема на Драконе в редакторе Степана Митькина может служить основой для автогенерации кода на Си, например для Ардуино.


Вернуться к началу
 Профиль  
 
СообщениеДобавлено: Четверг, 06 Сентябрь, 2018 11:19 

Зарегистрирован: Среда, 27 Сентябрь, 2017 18:44
Сообщения: 332
Дмитрий Бардынин писал(а):
И дополню, что схема на Драконе в редакторе Степана Митькина может служить основой для автогенерации кода на Си, например для Ардуино.

Ни понимаю зачем генерировать код
-Сразу с дракон схемы загрузить в устройство
- сразу использовать эмуляцию и режим отладки в дракон схеме
- сразу в он лайн режиме проверять состояние устройство из дракон схемы
Иметь возможность где то вмешаться в код - может быть и имеет смысл


Вернуться к началу
 Профиль  
 
СообщениеДобавлено: Четверг, 06 Сентябрь, 2018 11:30 

Зарегистрирован: Среда, 27 Сентябрь, 2017 18:44
Сообщения: 332
Сколько работаю с драконом ни разу не пытался читать чего он там нагенерировал
Сразу копировал сгенерированое и в компилятор .
Смысл проверять код за драконом или кто то сомнивается что дракон может ошибится в ссылке?
Крутитесь коллеги на одном месте !


Вернуться к началу
 Профиль  
 
СообщениеДобавлено: Суббота, 08 Сентябрь, 2018 13:59 

Зарегистрирован: Пятница, 08 Декабрь, 2017 18:24
Сообщения: 439
Откуда: Астрахань-Сочи
Мы тоже заливаем сразу в Arduino. Но есть и те, что используют промежуточные варианты.


Вернуться к началу
 Профиль  
 
СообщениеДобавлено: Понедельник, 17 Сентябрь, 2018 15:07 

Зарегистрирован: Среда, 27 Февраль, 2008 19:32
Сообщения: 19
Дмитрий Бардынин писал:
Простите за нескромность, но, как мне кажется, схема расчета будущей даты запутана в обоих вариантах.

Дело в том, что на InteloGraf схеме отображена программа на C++, т.е. в объектно-ориентированном стиле. Описывается класс CData, его конструктор и т.д. Затем в основной программе создаётся объект этого класса и т.д. Причём все это делается на одной схеме, и встроенным кодо-генератором формируется сразу готовая программа на С++. Попробуйте сделать тоже самое на блок схеме и на ...
Конечно это лишь простенький, модельный пример для демонстрации возможностей языка InteloGraf. Его преимущество сказывается при создании сложных проектов, особенно построенных по объектно-ориентированной парадигме.


Вернуться к началу
 Профиль  
 
СообщениеДобавлено: Понедельник, 17 Сентябрь, 2018 15:21 

Зарегистрирован: Среда, 07 Январь, 2015 14:53
Сообщения: 1359
NickSen писал(а):
Дмитрий Бардынин писал:
Простите за нескромность, но, как мне кажется, схема расчета будущей даты запутана в обоих вариантах.

Элементарно просто:
Вложение:
ПолучитьСледПредДату.png

Вложение:
ПолучитьСледПредДату.drt


Вернуться к началу
 Профиль  
 
СообщениеДобавлено: Понедельник, 17 Сентябрь, 2018 16:05 

Зарегистрирован: Среда, 27 Февраль, 2008 19:32
Сообщения: 19
LKom писал:
Элементарно просто

Но где здесь объектно-ориентированный стиль??


Вернуться к началу
 Профиль  
 
СообщениеДобавлено: Понедельник, 17 Сентябрь, 2018 17:23 

Зарегистрирован: Среда, 07 Январь, 2015 14:53
Сообщения: 1359
NickSen писал(а):
Но где здесь объектно-ориентированный стиль??
Предоставлен алгоритм.
Разве, он должен или может иметь объектно-ориентированный стиль?
Здесь нет привязки к языку программирования.


Вернуться к началу
 Профиль  
 
Показать сообщения за:  Поле сортировки  
Начать новую тему Ответить на тему  [ Сообщений: 33 ]  На страницу Пред.  1, 2

Часовой пояс: UTC + 3 часа


Кто сейчас на конференции

Сейчас этот форум просматривают: нет зарегистрированных пользователей и гости: 1


Вы не можете начинать темы
Вы не можете отвечать на сообщения
Вы не можете редактировать свои сообщения
Вы не можете удалять свои сообщения
Вы не можете добавлять вложения

Найти:
cron
Вся информация, размещаемая участниками на конференции (тексты сообщений, вложения и пр.) © 2008-2025, участники конференции «DRAKON.SU», если специально не оговорено иное.
Администрация не несет ответственности за мнения, стиль и достоверность высказываний участников, равно как и за безопасность материалов, предоставляемых участниками во вложениях.
Powered by phpBB® Forum Software © phpBB Group
Русская поддержка phpBB